您现在的位置: 首页 >> 产品展示 >> 混合机系列 >> 卧式螺带混合机

产品名称: 卧式螺带混合机(螺条式混合机--Ribbon Blender)
 
产品工作视频介绍
 

卧式螺带混合机产品介绍:
CLARE卧式螺带混合机革命性地改变了传统工艺的粉-粉、粉-液、固体物料、颗粒状物料的混合状况,使粉一粉、粉一液、固体物料、颗粒状物料的混合向高速、高效、易操作清洗方便,无污染方面发展,标志着现代工艺的显著进步,广泛应用于医药、食品(比如奶茶、速溶茶粉、食品添加剂、香精香料、调味品、大豆分离蛋白质喷涂卵磷脂等等混合工艺)、兽药、变性淀粉、造纸、化工、饲料、CPE塑料粒子等行业之中,他特有的机身及结构注定了与众不同的特性:

 
 
混合机工作录像

 
提示:第二幅录像画面请等待30秒后,点击播放按钮后才能显示动态画面
 

特性以及优点描述:
1、清理方便:满足每批、每班次及时、方便、快速对设备内部进行清洗、清理,不留死角。
2、混合均匀度高:能使1:10000倍配比的物料均匀混合,尤其使对于比重特性较大的物料混合更显其优势。用户曾经做
  过现场试验,在10分钟内将1000公斤面粉和5公斤左右的红色粉末混合,经过每个角落取样化验,混合均匀度很高。
相比其他混合机混合均匀度高很多!
3、混合速度快,效率高:通常每批物料混合一般在1-10分钟就完全达到充分混合搅拌,比其它混料机效率提高6-10倍
或更高。
4、出料快,方便:通常1~2分钟出完一批料。用户现场试验时,1000公斤面粉出料时间47秒。
5、装载量大:该设备通常装载量(装载系数)在70%以上。
6、残留量少:用户一直认为卧式设备残留量大,实际不是这样的,由于外螺带跟U型筒壁间隙我们在加工过程中做到
很小很小,而且出料时螺带一直在运转,使得物料往出料阀方向运动,基本全部出光。用户在现场试验中1000公
斤面粉残留在5公斤。
7、满足真空上料、无粉尘出料,避免整个上料、混合、出料过程中粉尘飞扬。
8、混合过程温和,基本不被破坏物料的原始状态。
9、对物料无污染现象:该设备的搅拌机构为整体式,安全可靠,所有棱角焊缝圆滑过渡,易清洗; 润滑部部位均在
桶体外,无滴油和磨屑物渗入物料,可密封操作,隔绝空气中尘埃进入物料。
10、对厂房要求低:设备为卧式,且各种形式的驱动装置和出料位置可任意选择,不受厂房高度,占地面积制约。
11、设备运转平稳可靠,易损件少,使用寿命长,维修方便操作简单。

 
螺带混合机结构组成
◆机盖——按用户要求及工艺状况,盖可设计成平盖、拱形盖,可设计为整块盖开户方式,也可设计几块形式开
启,手动或气动开启、盖上按需要开具各种管口。
◆“U”形料槽或圆桶形料槽供选择。
◆搅拌器/轴——有三种搅拌器可供选择。


浆叶式结构内部照片
 
 
U形槽体两端密封--最新研发恒压机械密封(专利号:2019 2 0865999.4)
引领国际潮流--规避传统盘根密封、气密封形式弊端、确保轴端不漏粉
 
 
 
 
 
 

阀门
多种阀门可供选择,嵌入式阀、闸板阀、碟阀、球阀、滑轮阀,电动、气动、手动操作均可。

 
 
驱动部分:
电机可采用普通电机、防爆电机、双速电机、变频电机,连接方式有电机、减速机与螺条搅拌机构采用直联,还有采用链条或皮带传动,或摆线针轮连接式。

螺带混合机可供选择的菜单
◆液体的添加——喷液系统。
◆切碎机——高速切碎机能使某些物料在混合过程中产生结块或结团现象消失。一台设备可装一台或二台切碎机,
可配在机盖或桶体出料阀两侧。
◆刮板装置——桶体端部及外螺条上配上刮板,减少混合死区。
◆夹层——夹层可通过导热油、热水或蒸汽加热,用户须提供介质、压力、温度参数。
◆真空操作——设备可设计成真空操作,也可以真空吸料。
◆负载启动保护装置——液力偶合器。
◆电控箱——通常情况下不配电控箱,当用户需要时配备。
◆转速:单速、双速和变频调速或无级调速均可选择。
◆材质:碳钢,304SUS,316L不锈钢可选择。
 
卧式螺带混合机增加飞刀装置
筒内平均分布几台高速运转飞刀对物料除了轴向分散以外,还可带动物料沿筒形作圆周运动,中间的飞刀起到辅助混合对结块物料分解散聚作用。
     
 
螺带混合机带蒸汽半管加热干燥
 
带加热夹层、保温层螺带混合干燥机
 
 
 
实验室用螺带混合机
食品医药级螺带混合机
 
防腐蚀处理的螺带混合机
 
设备照片
设备照片
 
   
   
排气过滤反吹呼吸冒
   
投料口格栅  
 

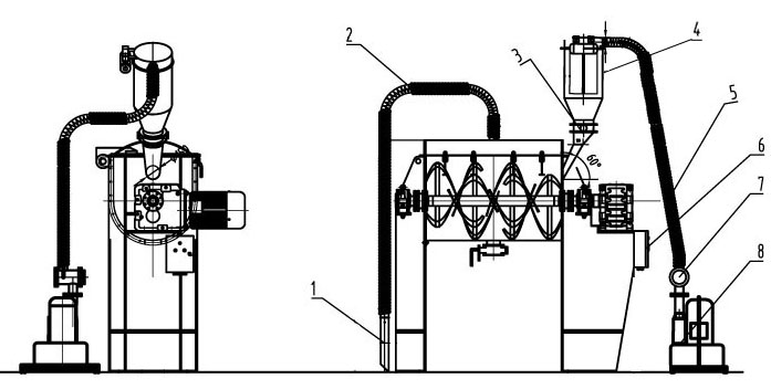
典型的粉-液混合工艺流程图


典型的真空上料工艺流程图1(采用真空上料机上料)
 
以上为国内外食品、医药行业无粉尘上料、混合、出料系统范例
配置清单如下(依据用户要求选配):

    1、真空泵 1台               2、过滤器 1套
3、真空料斗(304不锈钢) 1个        4、压缩空气反吹系统 1套
5、气动放料门系统 1套           6、吸料软管 若干米
7、不锈钢吸料嘴 1支            8、放料阀 1套
9、软连接 1套               10、料筒 1只
11、控制系统 1套

 
 
典型的真空上料工艺流程图2(对混料机内部抽真空、产生一定负压上料)

    1、不锈钢吸嘴                 2、送料软管
3、蝶阀                     4、真空上料机
5、轴气软管                  6、控制箱
7、三通阀                   8、气泵

 
 
 
 
技术参数表(以下数据仅供参考,具体参数在订货前以设备方案图为准!)
型号
全容积
(M3)
有效容积
(M3)
外形尺寸(MM)
重量
(KG)
RB-1/4
0.008
0.056
700
232
500
70
RB-1
0.037
0.025
1050
600
700
260
RB-5
0.2
0.14
1700
1000
1030
450
RB-10
0.37
0.26
2200
1020
1000
600
RB-18
0.6
0.42
2500
1100
1130
1000
RB-25
0.85
0.6
2550
1250
1200
1400
RB-36
1.15
0.8
3010
1810
1200
1800
RB-52
1.57
1.1
3100
1950
1350
2200
RB-62.5
2
1.4
3400
2000
1800
2900
RB-71
2.25
1.6
3800
2180
2130
3200
RB-80
2.5
1.7
3950
2180
2130
3300
RB-100
3.1
2.1
4210
2300
2184
4000
RB-120
3.7
2.6
4275
2380
2210
4300
RB-155
4.7
3.3
4350
2650
2240
5700
RB-180
5.5
3.85
4900
2870
2280
7600
RB-215
6.6
4.6
5300
3100
2300
8900
RB-270
8.5
6
5300
3400
2500
11500
RB-325
10
7
5600
3700
2900
12200
RB-385
12
8.4
5900
4000
3200
17000
RB-515
16
11
6452
4000
3200
20000
RB-600
18
12.6
6452
4000
3530
22000
RB-800
24
16.8
6050
4000
3370
28000
RB-1000
30
21
6500
4200
3600
35000

 

 



Copyright 2013 南通克莱尔混合设备有限公司 电话:0513-83308511/83309511
地址:江苏启东市民主工业园区恒丰路82号  邮箱:
ntclare@ntclare.com  苏ICP备08105740